阿浅来了电视剧全集在线观看日剧,青青青手机在线观看,欧美一级视频在线观看,天堂avtt,天空之上三公尺电影在线观看完整版,开端在线观看免费高清完整版下载,在线精品中文字幕

Hubei Dayu Hanguang Vacuum Electric Co.,Ltd.
CN EN

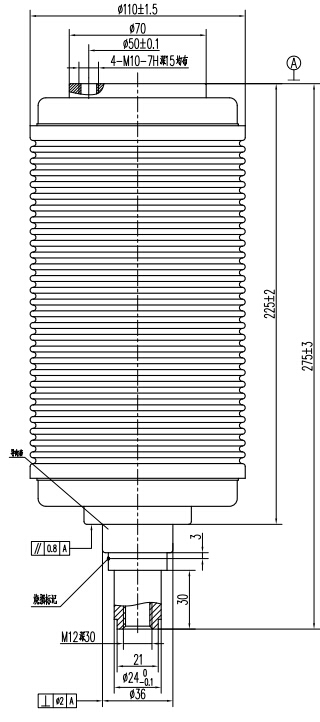
Vacuum interrupter for indoor circuit breaker TD425Y

Model:VITD24/1250-25

Category:VI for indoor circuit breakers

Product details

1435892630763298.jpg
Main Technical Specification
VOLTAGE RATINGS
Rated voltage(Ur)kV24
Rated short-time(1min)power-frequency withstand voltage(Ud)kV65
Rated lightning impulse withstand voltage(Peak)(Up)kV125
Rated frequency(fr)Hz50
CURRENT RATINGS
Rated current(Ir)A630/1250
Circuit resistance at lowest rated contact forceμΩ≤20
Rated short-circuit breaking current(lsc)kA25
Breaking operations of rated short circuit breaking currentTimes30
Rated short-time withstand current(lk)kA25
Rated duration of short-circuit(tk)s4
Rated peak withstand current(lp)kA63
Rated short-circuit making current(lMc)kA63
Rated cable-charging breaking current(lc)A25
Rated breaking current of single capacitor bank(lsb)A400
Rated breaking current of back-to-back capacitor bank(lbb)A400
MECHANICAL DATA
Weight of movable partskg≤1.6
Closing force due to bellow and atmosphereN150±50
Force required to hold contacts open at full strokeN190±60
MECHANICAL REQUIREMENTS
Clearance between open contactsmm12±1
Average opening speed (contact close position~75%contact gap)m/s1.5±0.25
Average closing speed (30%contact gap-contact close position)m/s0.8±0.15
Rated added external contact final forceN3150±200
Added external contact force at contact touch point1600±100
Contact bouncing duration at closing operationms≤2
Closing and opening non-simultaneity of three-phase contactsms≤1
Maximum rebound during openingmm≤3
LIFE
Storage lifeyears20
Rated mechanical enduranceTimes10000
Contacts limit erosionmm3

Relevant information