阿浅来了电视剧全集在线观看日剧,青青青手机在线观看,欧美一级视频在线观看,天堂avtt,天空之上三公尺电影在线观看完整版,开端在线观看免费高清完整版下载,在线精品中文字幕

Hubei Dayu Hanguang Vacuum Electric Co.,Ltd.
CN EN

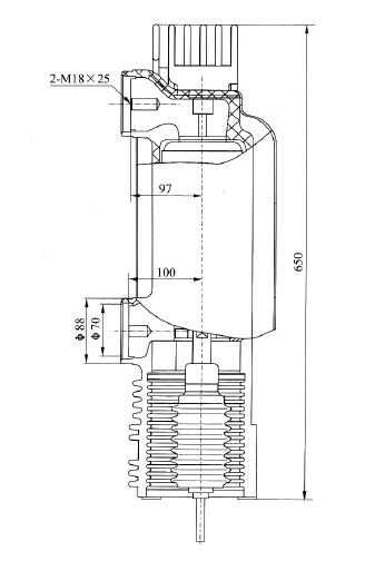
Embedded Poles

Model:EEP-24/2500-31.5

Category:Embedded poles


Product details

HEP-24 2500-31.5-1.jpg     HEP-24 2500-31.5-2.jpg

HEP-24 2500-31.5-4.jpg

Specifications of Embedded Pole

Main Technical SpecificationUnitSpecification
2500
Rated voltagekV24
Rated currentA2500
Rated frequencyHZ50/60
Short time power frequency withstand voltage(1min)kV65(79)
Lightning impulse withstand voltagekV125(145)
Rated short circuit breaking currentkA31.5
Rated peak withstand currentkA80
Rated short circuit making currentkA80
Rated short time withstand currentkA31.5
Rated duration of short circuitS4
Rated breaking current of single capacitor bankA400
Rated breaking current of back to back capacitor bankA400
Rated operating sequenceO-0.3s-CO180s-CO
Breaking operations of rated short circuit breaking currentTimes20
Rated mechanical enduranceTimes10000
Closing force due to bellow and atmosphereN210±50
Force required to hold contacts open at full strokeN340±50
Circuit resistance at lower limit of rated contact force≤20
Contacts limit erosionmm3
Gas pressure inside vacuum interrupterPa≤1x10?3
Localize dischargePc≤5

Mechanical Data Required for the Matched Vacuum Switchgear

Main Technical SpecificationUnitSpecification
2500
Clearance between open contactsmm13±1
Average opening speedm/s1.3±0.2
Average closing speedm/s0.7±0.2
Rated of contact forceN3200±200
Contact bouncing duration at closing operationms≤2
Out of simultaneity of contact closing and openingms≤2
Maximum rebound during openingmm≤2

Prev archive:Embedded Poles

Next archive:Embedded Poles

Relevant information